立式螺旋輸送機工作原理
2022-01-29 15:27:41
輸送機
赫勒柔性輸送鏈板設備公司
2349
導讀: 在輸送過程中,物料隨著螺旋作高速旋轉,由于離心力的作用,物料在料槽內形成若干同心圓層,物料的最外層緊貼槽壁。
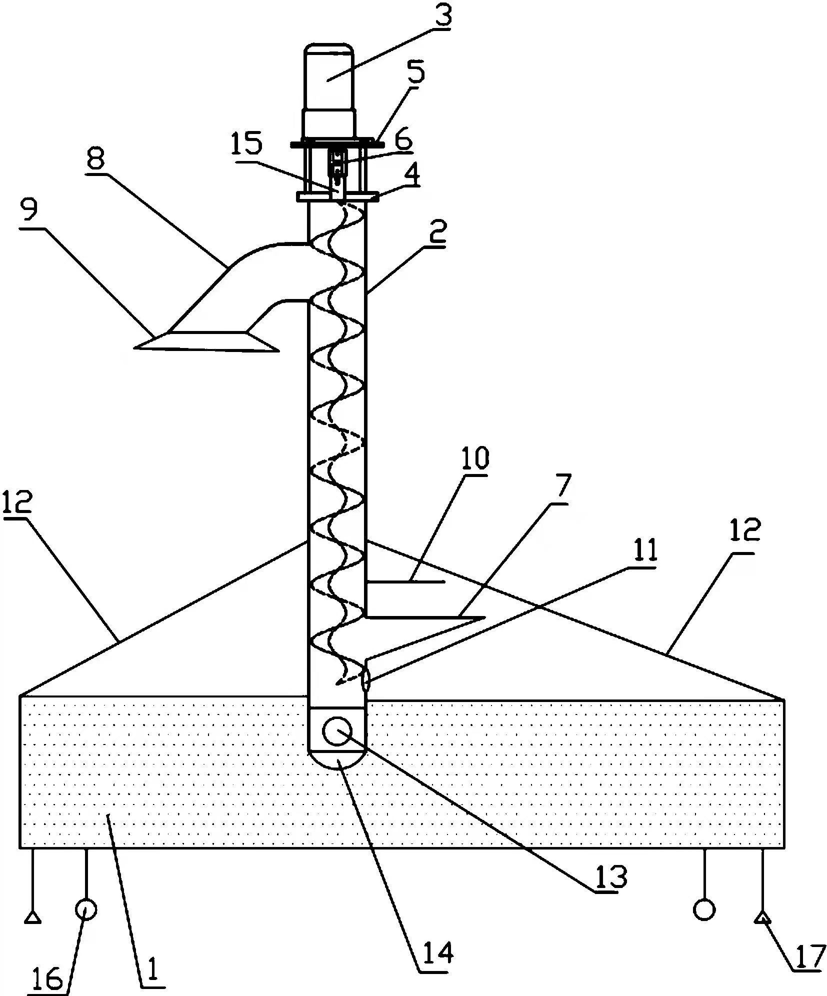
立式螺旋輸送機工作原理:在輸送過程中,物料隨著螺旋作高速旋轉,由于離心力的作用,物料在料槽內形成若干同心圓層,物料的最外層緊貼槽壁。當螺旋轉速不高時,物料與螺旋表面的摩擦力大于物料所受到的離心力,物料與螺旋一起作旋轉運動,保持相對靜態;當螺旋轉速較高時,物料所受到的離心力大于物料與螺旋表面的摩擦力.物料向螺旋的外緣移動,對料槽壁產生壓力并同時產生摩擦力.只有當這個摩擦力大于物料與螺旋表面之間的摩擦力以及物料重力的分力之和時,物料將與螺旋表面之間發生滑動并沿反方向的螺旋形軌跡上升,即物料被垂直部分的螺旋推送上升,從而達到垂直上升輸送的目的;否則只是旋轉而不能上升·將此時的轉速稱為臨界轉速,只有當輸送機的轉速大于臨界轉速時.物料才能實現向上輸送,這是垂直輸送機的主要特點。其優點是:結構簡單:所占空間位置小;易于密閉輸送。制造費用較低。其缺點是:輸送量小,輸送高度小。

垂直螺旋輸送機適宜垂直或大傾斜角輸送粉狀、粒狀、非粘性的容重≤1.3t/m3的干燥物料,如糧食,油麩、飼料、化工原料、水泥等。物料溫度一般不能超過80℃,垂直螺旋輸送機不適宜輸送塊狀機粘性的物料。


